现货: 外径×壁厚: mm× mm 材质: 标准: 产地:
  最新产品          更多>>>>
大口径直缝焊管
矩管
直缝焊管设备
40Cr无缝钢管|40Cr合...
方管规格表
10CrMo910合金管|1...
薄壁焊管
直缝焊管设备生产线
方管规格
方管理论重量表
直缝焊管生产线
高频直缝焊管
高频焊管
高频焊管生产厂家
大口径无缝方管
不锈钢方管规格表
16mn无缝方管
镀锌无缝方管
冷拔精密无缝钢管
P5合金管
船舶无缝管|船舶专用管|船舶...
化肥专用管|化肥设备用高压无...
20G高压锅炉管|山东20g...
P91合金管
T91合金管
产品展示 您当前位置:首页/  直缝焊管 >> 砂型离心铸铁管(GB/T3421—1982)
  
产品编号:
812930516
产品名称:
砂型离心铸铁管(GB/T3421—1982)
规  格:
见下表
产品备注:
最新优惠活动请电话联系
产品类别:
直缝焊管
 
    产 品 说 明

 
砂型离心铸铁管(GB/T3421—1982)
砂型离心铸铁管适用于输送水和煤气等,铸铁直管按壁厚分为P、G两级。
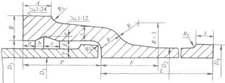
(1)尺寸和形状
承插铸铁直管
R=C+E  R1=C R2=E
承插铸铁直管的尺寸
公称口径
DN/mm
各部尺寸/mm
a
b
c
e
75~450
15
10
20
6
500以上
18
12
25
7
砂型离心铸铁管的壁厚和质量
公称口径
DN/mm
壁厚/mm
内径/mm
外径
D2/mm
有效长度/mm
承口凸部质量
/kg
插口凸部质量
/kg
直部1m质量
/kg
T
D1
5000
6000
总质量/kg
P级
G级
P级
G级
P级
G级
P级
G级
P级
G级
200
8.8
10.0
202.4
200
220.0
227.0
254.0
 
 
16.30
0.382
42.0
47.5
250
9.5
10.8
252.6
250
271.6
303.0
340.0
 
 
21.30
0.626
56.3
63.7
300
10.0
11.4
302.8
300
322.8
381.0
428.0
452.0
590.0
26.10
0.741
70.8
80.3
350
10.8
12.0
352.4
350
374.0
 
 
566.0
623.0
32.60
0.857
88.7
98.3
400
11.5
12.8
402.6
400
425.6
 
 
687.0
757.0
39.00
1.460
107.7
119.5
450
12.0
13.4
452.4
450
476.8
 
 
806.0
892.0
46.90
1.640
126.2
140.5
500
12.8
14.0
502.4
500
528.0
 
 
950.0
1030.0
52.70
1.810
149.2
162.8
600
14.2
15.6
602.4
599.6
630.8
 
 
1260.0
1370.0
68.80
2.160
198.0
217.1
700
15.5
17.1
702.0
698.8
733.0
 
 
1600.0
1750.0
86.00
2.510
251.6
276.9
800
16.8
18.5
802.6
799.0
836.0
 
 
1080.0
2160.0
109.00
2.860
311.3
342.1
900
18.2
20.2
902.9
899.0
939.0
 
 
2410.0
2630.0
136.00
3.210
379.1
415.7
1000
20.5
22.6
1000.0
955.8
1041.0
 
 
3020.0
3300.0
173.00
3.550
473.2
520.6
注:
1.计算质量时,铸铁密度采用7.20g/cm3.
2.总质量=直部1m质量×有效长度+承插口凸部质量(计算结果四舍五入,保留三位有效数字)。
(2)外形
砂型离心铸铁管的弯曲度
公称口径DN/mm
弯曲度/mm
200~450
1.51
>1500
1.251
注:1.表中1代表管的有效长度(m),管长(m)乘以1前的系数即为弯曲度。
      2.铸铁管端面应与轴线相垂直。
(3)化学成分
砂型离心铸铁管的磷含量WP不应大于0.30%,硫含量Ws不应大于0.10%。
(4)力学和工艺性能
管环抗弯强度
公称口径DN/mm
抗弯强度óbbMPa
≤300
340
350~700
280
≥800
240
砂型离心铸铁管的水压试验
直管种类
公称口径DN/mm
试验压力/MPa
P级
≤450
2.00
≥500
1.50
G级
≤450
2.50
≥500
2.00
 


  • 上一个产品:304不锈钢管
  • 下一个产品:N1型接口离心铸造球墨铸铁管(GB/T13295-1991)
  • 返回上级产品
  • 点击数:6644  录入时间:2025/6/7 【打印此页】 【关闭